I first received an email from Jonathan Bornman in early 2007
Dear Mr. Storer,
I just downloaded the PDRacer plans I ordered from Duckworks. They look great! I am planning to build three boats from the plans, one for each of our three children. Actually they are doing the building and I am going to help them. What do I owe you for this?
I told him the first two boats would be for the single plan cost, but he would have to pay for another plan to build the third boat.
The next email was to make the adjustments to the foil templates to accurately shape the centreboard and rudder for a big jump in performance.
I am helping my kids build three PDRacers. Please send me the corrected foil template.
Thanks for great plans. The picture is my youngest child with his partially completed PDRacer. The second picture is of three partially completed hulls in the garage... visible in the back ground is the transom of my Marisol Skiff by Gifford Jackson.
THE BEST IS YET TO COME!
Here are the pics he sent:

click images for larger views |
 |
About this time I realised that a couple of new registrations had crept onto the international pdracer.com registration site.
West Africa
#164 Isaiah Bornman un-named
#170 Caleb Bornman un-named

Isaiah's PDR - Isaiah's |

Caleb's PDR - Wave Dog |
As we go more pictures will be on the way. I will be interested in seeing the cut down version of the sail. We have made one sail so far but not stiched yet. I will add the additional corner patches.
I did find one error in the plan... the detail of the bow and transom indicates that you make the framing 1212 and leave the plywood hanging over 4mm. It also states that on the side pieces that the framing should be set back 24mm. The mistake is that if the bow and transom pieces are made as detailed then the set back should only be 19mm. OR the framing on the side pieces should be set back 24mm and then the bow and transom would have no over hanging plywood. I remedied the situation by simply planing off the 4mm over hang on the bow and transom pieces.
I will send many more pictures as we go if you are interested. I look forward to your response.
Sincerely,
Jonathan
I corrected the errors - I had made too big an allowance in trimming the chine logs to allow for the transom framing. Thanks for your help Jonathan.
So, they went sailing for the first time and used the "wrap sail around mast" reefing method I used after my PDR speed record attempt. While I wouldn't be planning to get upwind under such a rig - returning home on a reach or a run seems to work quite OK. HOWEVER - they broke their rudderboxes.
Hello Michael,
Here are few shots of our first attempts at sailing our just completed PDRacers. There was a stiff wind. We had fun but we also ran into problems with the rudders. The 4mm plywood sides failed almost immediately on the first two we put in the water. The third boat never got tested. I am sending you a picture. I would welcome your thoughts.
 |
Isn't that the coolest colour scheme - actually they are all rather nice - the Bornman family has very good taste indeed! |
| Sailing with the sail wrapped around the mast for a reef. |
 |
 |
And here is the rudder breakage |
Thanks for a great set of plans! They were easy to follow.
This is my reply (actually I sent two emails when I realised the tiller wasn't glued to the top of the rudderbox - it carries most of the loads for turning the rudder - so needs to be part of the unit.
Hi Jonathan,
Very exciting to hear the boats are in the water.
With the rudders - all the bolts need to be in place as in the drawings. The boxes are weak without them and almost indestructible with them.
None of this is really my doing - the design process was carried out over thousands of OZ and NZ racing boats where this method is still quite dominant. I saw it first on Paper Tiger catamarans in 1973 - and realised its importance as a 12 year old. I've used it on a succession of boats and slowly realised exactly what you have to do to make it light, simple but incredibly reliable.
With our original boats we did not use manufactured rudder fittings either but put lots of fibreglass tape around the front edges of our wooden rudder fittings that went back onto the rudder box.
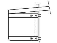
The glass tape is entirely unnecessary if you use the fittings in the plan drawings.- shown below.
| This drawing is actually a little inaccurate as there needs to be a bolt through the tiller - not shown in this drawing, though one in the plan body does show it. |
 |
| You can see the pictures here of the glass taping - it was quite heavy with about 5 or 6 layers of tape built up wet on wet. |
 |
However some bolts and washers in the same places as the specified rudder fittings will do a good job too.
Here I think is the problem ... there is lots of glass tape in the finished pic at right - but you cannot see it at all. |
 |
The rudder boxes are a really good design are super reliable and completely trouble free - they work brilliantly in every conceivable condition. Please be prepared to perservere with getting them right as they are the best solution for almost every boat.
Best wishes
Michael
I asked Jonathan to register the third boat on the US site. - this turned up later in the day.
Thanks for you quick reply. My daughter wrote off several days ago to register her boat as well. We are looking forward to our next outing and will keep you informed.
One more thing I forgot the names...
Isaiah's (age 14) yellow boat is named "Isaiah's".
Laurel's (age 12) polka dotted boat is named "Watermelon".
Caleb's (age 10) blue boat is named "Wave Dog"
They each built their own hull and painted it. I made all the bits like spars, tiller and rudder boxes.
And this on the worldwide registration site
West Africa
#211 Laurel Bornman "Watermelon"
Which showed this pic
 |
Laurel's Watermelon |
I wrote ...
Hi Jonathan, The boats look very cool in their different colour schemes! The kids must be thrilled - they certainly look that way.
What is your other boat in the pictures?
The thicker ply is not necessary in some ways, but if the quality is much better then I agree totally.
It might be worthwhile to put one bolt down near the bottom.
Best wishes and late easter wishes
Jonathan replied:
Thanks for the compliments, I will pass them on to the kids! The other boat is my Marisol Skiff a Gifford Jackson design. I built "Dolphin" in 2002-3 entirely with hand tools in a small desert town in northern Senegal (see Louga on google earth) about an hour from the Senegal River estuary where we sailed her. We moved to Dakar in 2007 and are now sailing in Hann Bay.
I saw the bolt you mentioned and will use it. It is a quality issue with the plywood.
When we have our first "regatta" we will send you more pictures.
Thanks for everything,
Jonathan
And then TODAY!!!!!!!
Title - DAKAR FLEET SAILING
Hey we rebuilt the rudder boxes and they are as strong as could possibly be. I am very happy with them. Today we got all three boats back in the water and had a great afternoon. The wind was a mild breeze, perfect for the novice sailors to solo. They all did great! After 10 months of working and waiting they were sailing! I hope you enjoy the pictures.
Jonathan
| The one here is a little down at the stern... |
 |
 |
this one is sitting a wee bit too far back. |
| But this pic shows the whole fleet in perfect trim! |
 |
I hope the Bornmans see this and realise what a truly great thing they have done.
Thankyou Caleb, Isiah, Laurel and Jonathan! (and probably a number of unsung heroes!)
Great story!
Also thanks for the photo of the failure which makes this article possible.
Michael
Michael Storer plans sold here |